Bài trước Bài 19: PT tín hiệu Video TV PANASONIC
VII - KHỐI ĐƯỜNG TIẾNG.
1 - Phân tích sơ đồ tổng quát về khối đường tiếng của Tivi LCD.
1). Sơ đồ tổng quát khối đường tiếng trên Tivi LG
Khối đường tiếng có hai IC chính là: IC Audio Processor (IC xử lý Audio) và IC Audio Amply (IC khuếch đại công suất âm tần).
+ IC xử lý tín hiệu Audio thực hiện các chức năng:
- Khuếch đại tín hiệu trung tần tiếng SIF sau đó giải điều chế để lấy ra tín hiệu âm thanh Audio cho đường Tivi.
- Chuyển mạch giữa các nguồn tín hiệu Tivi - AV1 - AV2
- Đổi sang dạng tín hiệu âm thanh số để xử lý và tạo hiệu ứng âm thanh.
- Đổi trả lại tín hiệu Analog để lấy ra âm thanh ở ngơ ra.
- Điều chỉnh thay đổi âm lượng, âm sắc, hoặc ngắt đường tiếng.
+ IC khuếch đại công suất âm tần.
- Khuếch đại tín hiệu Audio cả về biên độ và cường độ rồi điều khiển loa điện động phát ra âm thanh.
Đường tín hiệu Audio của Tivi LG
- Tín hiệu trung tần tiếng SIF từ bộ kênh được đưa đến IC - Audio Processor
- Các tín hiệu Audio đi vào từ cổng AV cũng được đưa đến IC Audio Processor.
- Điều khiển mạch Audio Processor được thực hiện bởi CPU thông qua các Bus SDA1 và SCL1.
- Tín hiệu ra của mạch Audio Processor được đưa sang tầng công suất.
- Tần công suất khuếch đại tín hiệu Audio Stereo rồi đưa tín hiệu ra loa
☞ Nếu bạn muốn học nghề sửa tivi trực tiếp được cầm tay chỉ việc bạn hãy truy cập trung tâm sửa tivi tại Hải Dương để đăng ký
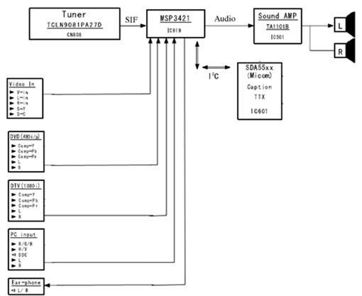
2). Sơ đồ tổng quát khối đường tiếng trên Tivi LCD SAMSUNG.
Khối đường tiếng trên Tivi LCD SAMSUNG gồm hai tầng: Tầng xử lý tín hiệu Audio Processor và tầng Audio Amply.
- Tín hiệu trung tần tiếng SIF từ bộ kênh được đưa sang mạch xử lý âm thanh Audio Processor.
- Các tín hiệu Audio từ các ngơ vào Video - DVD - DTV - PC cũng được đưa đến mạch Audio Processor.
- Điều khiển mạch Audio Processor được thực hiện bởi CPU thông qua các Bus SDA và SCL.
- Tín hiệu ra của tầng Audio Processor được đưa sang tầng công suất và đưa ra ngơ ra tai nghe.
- Tầng công suất sẽ khuếch đại tín hiệu Audio ở hai vế rồi đưa tín hiệu ra loa
3). Khối đường tiếng trên Tivi LCD PANASONIC TX-32LE
Khối đường tiếng của Tivi PANASONIC cũng có hai phân chính là phần Audio Processor và Audio Amply.
- Mạch xử lý âm thanh Audio Processor của máy được tích hợp trong IC xử lý hình ảnh và IC vi xử lý VTC69XYP.
- Tín hiệu trung tần tiếng SIF hoặc tín hiệu AM từ bộ kênh được đưa đến mạch Audio Processor.
- Các tín hiệu ngơ vào Audio từ các cổng AV1, AV2, AV3 được đưa qua IC chuyển mạch Audio Matrix sau đó đưa vào mạch Audio Processor.
- Tín hiệu ra của mạch Audio Processor được đưa sang tầng công suất để khuếch đại rồi đưa ra loa.
- Tín hiệu Audio cũng được đưa qua IC khuếch đại Headphone Amply rồi đưa ra rắc cắm tai nghe.
2 - Phân tích khối đường tiếng trên Tivi LCD - LG
1). IC xử lý tín hiệu Audio Processor.
- Tín hiệu SIF đi vào qua cổng ANA_IN1 hoặc ANA_IN2 (nếu cổng nào không sử dụng thì đấu mass), tín hiệu SIF đi vào mạch giải điều chế (Demodulator).
- Tín hiệu SIF đi qua mạch giải điều chế Demodulator để lấy ra tín hiệu điều tần FM hoặc điều biên AM, các tín hiệu FM và AM được đưa sang mạch DSP
- Các tín hiệu từ ngơ vào SCART1, SCART2, SCART3 SCART4 được đổi sang tín hiệu số thông qua mạch A/D (Analog Digital Converter) rồi sau đó đưa sang mạch DSP.
- Mạch DSP (Digital Sound Processor) là mạch xử lý âm thanh số thực hiện các chức năng như:
- Chuyển mạch âm thanh.
- Tạo hiệu ứng âm thanh.
- Điều chỉnh tần số và âm lượng
Đưa tín hiệu sang mạch DAC.
- Các mạch DAC sẽ đổi tín hiệu âm thanh Digital về dạng tín hiệu Analog tạo ra các tín hiệu Audio cấp cho tầng công suất.
- Mạch Interface trao đổi dữ liệu với CPU và nhận các lệnh điều khiển từ CPU để điều khiển các chức năng về âm thanh.
- Crystal là thạch anh tạo xung nhịp cung cấp cho mạch xử lý âm thanh số hoạt động.
- Sound IF là các ngơ vào tín hiệu trung tần tiếng.
- SCART IN là các ngơ vào của tín hiệu Audio.
- SCART OUT là ngơ ra của tín hiệu Audio
- Loud speaker là ngơ ra cho âm thanh trung.
- Subwoofer là ngơ ra cho loa trầm
- Headphones là ngơ ra cho tai nghe.
- I2C là giao tiếp chuẩn Serial với CPU thông qua Bus SDA và SCL.
Hình 7 - Sơ đồ nguyên lý mạch xử lý tín hiệu Audio
3 - Phân tích khối đường tiếng trên Tivi LCD - SAMSUNG
1). Sơ đồ khối tổng quát.
- Tín hiệu trung tần tiếng từ bộ kênh đi đến IC xử lý Audio Processor.
- Các tín hiệu Audio từ các ngơ vào Video in, DVD, DTV, PC cũng được đưa đến mạch xử lý tina hiệu âm thanh Audio Processor.
- CPU điều khiển mạch Audio Processor thông qua các bus SDA và SCL.
- Tín hiệu ra của IC Audio Processor được đưa đến mạch khuếch đại công suất Sound Amply để khuếch đại rồi đưa ra loa.
2). Mạch xử lý tín hiệu âm thanh Audio Processor
- Mạch nhận tín hiệu SIF từ bộ kênh đưa vào chân ANA_IN1
- IC tiếp nhận tín hiệu trực tiếp từ các ngơ vào PC, DTV, DVD và AV
- Nguồn cấp cho IC gồm 8V và 5V, 8V cấp cho các mạch Analog , điện áp 5V cấp cho các mạch xử lý số.
- Thạch anh tạo dao động cho mạch xử lý số hoạt động.
- CPU điều khiển mạch thông qua các tín hiệu SDA, SCL và tín hiệu khởi động Reset.
- Tín hiệu làm câm loa SOUND MUTE từ mạch đi ra đưa đến tầng công suất để ngắt âm thanh khi người sử dụng chọn chế độ “Mute”.
- Tín hiệu ra đưa theo hai đường DACM_L và DACM_R được đưa đến tấng công suất để khuếch đại trước khi đưa ra loa.
*. IC xử lý tín hiệu âm thanh Audio Processor.
- IC có thể tiếp nhận hai ngơ vào SIF, trong trường hợp chỉ sử dụng một ngơ vào thì ngơ kia sẽ được đấu mass.
- Từ ngơ vào Sound IF1 và Sound IF2 tín hiệu cho đi qua mạch ADC để đổi sang tín hiệu số, sau đó đưa qua mạch Demodulator để giải điều chế và đưa qua mạch tiền xử lý Pre Processing sau đó tín hiệu đưa sang chuyển mạch Source Select
- Các điều khiển từ CPU gồm các tín hiệu SDA và SCL được đưa qua mạch Prescale để giải mã lệnh lấy ra các lệnh điều khiển, điều khiển mạch xử lý âm thanh số.
Hình 9b - Sơ đồ khối của IC xử lý số Audio Processor - MSP3421.
- Từ các ngơ vào SCART1, SCART2, SCART3, SCART4 và MONO tín hiệu âm thanh được đưa vào chuyển mạch SCART Input Select để chọn lấy một ngơ vào sau đó đưaqua mạch ADC để đổi sang tín hiệu số sau đó đưa đến chuyển mạch Source Select.
- Chuyển mạch Source Select sẽ chọn lấy một nguồn tín hiệu để đưa vào xử lý, thực hiện tạo hiệu ứng âm thanh, chỉnh to nhỏ, âm sắc rồi sau đó chia thành 4 ngơ ra.
- Từ các ngơ ra tín hiệu được đổi trả lại dạng tín hiệu Analog thông qua các mạch DAC để lấy ra tín hiệu Audio.
3). Mạch khuếch đại công suất âm thanh trên máy.
- Mạch khuếch đại công suất âm thanh sử dụng IC- TA1101 khuếch đại âm thanh Stereo cho hai kênh L và R.
- Tín hiệu Audio từ tầng Audio Processor đưa sang đưa vào các chân IN1 và IN2 của IC.
- Tín hiệu làm câm loa “Mute” đưa vào chân 11 của IC, khi chân 11 có mức thấp thì mạch sẽ ngắt âm thanh ra loa.
- Điện áp cấp cho IC công suất là 12V cấp vào các chân VDD1 và VDD2.
- Âm lượng của âm thanh được giữ ở mức cố định, khi chỉnh âm lượng của máy mạch Audio Processor đã làm thay đổi biên độ tín hiệu Audio trước khi đưa vào tần công suất.
4 - Phân tích khối đường tiếng trên máy PANASONIC TX-32LE
1). Sơ đồ khối tổng quát.
Hình 12 - IC xử lý Audio Processor được tích hợp trong CPU và Video Processor
- Đường tiếng của máy Panasonic TX-32LE được tích hợp trong IC đa chức năng VTC69XYP, IC này tích hợp các thành phần: CPU, Video Processor và Audio Processor.
- Phần chuyển mạch tín hiệu tiếng từ các ngơ vào AV1, AV2 và các rắc cắm được thực hiện bởi IC chuyển mạch IC3300 (Audio Matrix)
- Tín hiệu SIF từ bộ kênh được đưa thẳng đến IC - VTC69XYP
- Mạch Audio Processor tích hợp trong IC- VTC69XYP sẽ thực hiện xử lý âm thanh số và đưa ra tín hiệu âm tần tại ngơ ra Speaker L và Speaker R hai tín hiệu này sẽ được tầng công suất khuếch đại trước khi đưa đến điều khiển loa điện động L và R.
- Tín hiệu Audio ở ngơ ra HP L và HP R được khuếch đại qua IC270 (HEADPHONE AMPLY) sau đó đưa ra rắc cắm tai nghe.
Giáo trình tự học sửa Tivi LCD xin kết thúc tại đây chúc các bạn thành công!
Học Nghề ORG xin chia sẻ thêm các giáo trình Học nghề SEO và Tự học sửa tủ lạnh tại nhà để các bạn tham khảo tại link dưới đây:
Nguồn https://www.suativitaihaiduong.com/

![[Tự Học Sửa TV LCD] Bài 20: Khối đường tiếng của tivi LCD [Tự Học Sửa TV LCD] Bài 20: Khối đường tiếng của tivi LCD](https://blogger.googleusercontent.com/img/b/R29vZ2xl/AVvXsEj2Tpw0oAWQ1oMiGbXGMdogVnQ-lIpNFuhilLzjqxQFIbOVQ4RqpR-JrUQOxiPEDAnMzAfKTHmE3ymZpN7WZgiRdjq0wddsoOWbCqIXZVWI7HtA4FEuqvb--dnjcNcSqC6FP25Y1ikJsa9RWFAFsf7RjqYxKkrBa3ydL_UHQx2ZHciCpFFDiUNQp8s5ZQ/s16000/b%C3%A0i%2020.jpg)